Ningbo Richge Technology Co., Ltd.
Ningbo Richge Technology Co., Ltd.
Tuotteet

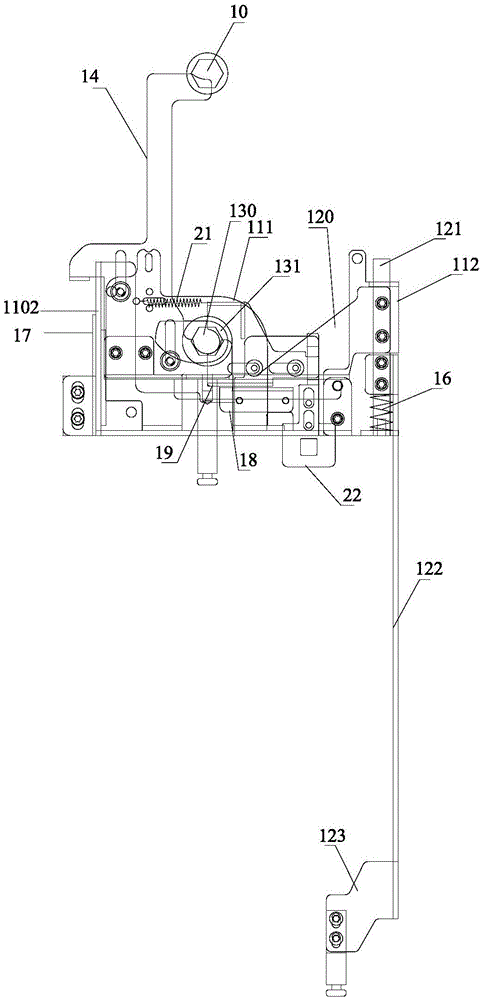
Maankytkimen käyttömekanismin lukituslaite

Earthing Switch Operating Mechanism Interlocking Device

The earthing switch interlocking device is an important device used to prevent misoperation and ensure the safe operation of the power distribution switchgear.  

Function and effect

Prevent misoperation: Avoid closing or opening the earthing switch at inappropriate times, preventing the earthing switch from being closed when the circuit breaker closed, or the circuit breaker from being closed when the earthing switch is closed, so as to ensure the safety of personnel and equipment.

Ensure the operation sequence: Ensure that the earthing switch and other related equipment (such as circuit breakers, disconnectors, etc.) are operated in a predetermined sequence and comply with the safety operation procedures in power system.


Application scenarios

High-voltage distribution cabinet: In high-voltage power systems, due to the high voltage level and large short-circuit current, the consequences of misoperation are extremely serious. Therefore, the grounding switch operating mechanism interlocking device is an indispensable component of the high-voltage distribution cabinet and is widely used in high-voltage switch cabinets in substations, power plants and other places.

Low-voltage distribution cabinet: In some low-voltage distribution systems with high requirements for power supply reliability and safety, such as hospitals, shopping malls, data centers, etc., grounding switch operating mechanism interlocking devices are also used to prevent power outages and personnel safety issues caused by misoperation.


View as  
 
Kytkinlaitteen maadoituskytkimen mekanismi

Kytkinlaitteen maadoituskytkimen mekanismi

Kytkinlaitteen maadoitusmekanismi on turvamekanismi, joka on suunniteltu estämään maadoituskytkimen vahingossa tapahtuvan toiminnan, kuten kytkinlaitteet, muuntajat ja katkaisijat. Se varmistaa, että maa -kytkintä voidaan käyttää vain turvallisissa olosuhteissa, tyypillisesti, kun muut kytkimet, kuten katkaisijat tai eristimet, ovat oikeassa asennossa. Tämä lukituslaite on ratkaisevan tärkeä laitteiden maadoittamisen estämiseksi, kun se on edelleen virrannut, mikä vähentää sähköonnettomuuksien riskiä ja varmistaa huoltohenkilöstön turvallisuuden. Laite toimii tyypillisesti estämällä fyysisesti maa -kytkimen toiminnan, ellei tiettyjä olosuhteita täyty, esimerkiksi varmistamalla, että katkaisukytkin on auki tai että laite on eristetty asianmukaisesti virtalähteestä. Joissakin malleissa lukitus voi sisältää myös tila -osoitimia tai hälytyksiä, jotta voidaan ilmoittaa, ovatko maadoitusolosuhteet turvallisia. Maankytkimen lukituslaitetta käytetään yleisesti sähköasemissa, voimalaitoksissa ja teollisissa sähköjärjestelmissä, joissa on läsnä korkeajänniteastia ja huoltotyöt on suoritettava turvallisesti. Se parantaa operatiivista turvallisuutta estämällä virheitä maadoitusprosessissa varmistaen, että laitteet on eristetty asianmukaisesti ja maadoitettu ennen työn alkamista. Yhdistämällä lukitusmekanismit laite auttaa virtaviivaistamaan ylläpitomenetelmiä, minimoimaan ihmisvirheen ja parantamaan sähköjärjestelmän yleistä luotettavuutta.
Maankytkimen lukituslaite

Maankytkimen lukituslaite

Richge on Ground Switch LOCK -laitteen Kiinan valmistaja, joka on erikoistunut tarkkuussuunniteltuihin ratkaisuihin, jotka on suunniteltu varmistamaan maapallon kytkimien turvallinen ja luotettava toiminta kytkentälaitteiden järjestelmissä. Lukitusmekanismimme ovat välttämättömiä toiminnan turvallisuuden parantamiseksi estämällä luvattomat tai virheelliset kytkentätoimet.
Sähkölukitusmekanismi

Sähkölukitusmekanismi

Richge on Kiinan sähköisten lukitusmekanismien valmistaja, joka on erikoistunut hienostuneisiin ratkaisuihin, jotka on suunniteltu parantamaan sähköjärjestelmien turvallisuutta ja luotettavuutta. Sähköisten lukitusmekanismimme on suunniteltu tarjoamaan tarkkaa ohjausta ja estämään luvattomat tai vaaralliset toiminnot erilaisissa kytkinsovelluksissa.
Sähkökytkimen kytkentävarsi

Sähkökytkimen kytkentävarsi

Richge on Kiinan sähkökytkimen kytkentävarojen valmistaja, joka on erikoistunut korkealaatuisiin komponentteihin, jotka on suunniteltu varmistamaan luotettavan ja tehokkaan toiminnan kytkentälaitteiden järjestelmissä. Liittotangot on suunniteltu helpottamaan turvallisia ja tarkkoja yhteyksiä erilaisten kytkinlaitteiden komponenttien välillä, mikä parantaa sähköjärjestelmien yleistä suorituskykyä ja toimintaa.
Kytkentälaitteiden lukituslaite

Kytkentälaitteiden lukituslaite

Richge on Kiinan kytkentälaitteiden lukituslaitteen valmistaja, joka keskittyy luomaan innovatiivisia ja luotettavia ratkaisuja sähköisten kytkentälaitteiden turvallisen ja tehokkaan toiminnan varmistamiseksi. Lukitusmekanismimme on suunniteltu estämään luvattomat tai virheelliset toiminnot, mikä parantaa sekä turvallisuutta että toiminnan eheyttä.
Richge on ammattimainen Maankytkimen käyttömekanismin lukituslaite valmistaja ja toimittaja Kiinassa. Jos olet kiinnostunut edullisista tuotteistamme, ota yhteyttä.
X
We use cookies to offer you a better browsing experience, analyze site traffic and personalize content. By using this site, you agree to our use of cookies. Privacy Policy
Reject Accept